深圳市朗磊贸易有限公司

产品详情
|

NEWPORT 优铂特 100760506  ISO-MF Flange Centering Rings

品牌: NEWPORT 优铂特
型号: 100760506
产品详情

NEWPORT 优铂特 100760506   ISO-MF Flange Centering Rings



定心环密封组件,ISO-MF,NW63,氟橡胶O型环,304不锈钢




100760506定心环组件是为NW63尺寸的ISO-MF或者ISO-BF真空法兰而设计的,具有氟橡胶(Viton®)O形圈和304不锈钢结构,从而提高了耐化学性。这些76系列定心环被插入到两个相同尺寸的ISO法兰面之间,当连接它们时能够提供真空密封。当高温、耐化学性或者较长的安装寿命使其有益时,建议使用附带的氟橡胶 O形圈。ISO法兰和密封件设计用于紧固到金属与金属接触。重要的是,不要将夹具或者螺栓拧得过紧,否则可能会导致法兰翘曲。夹具和螺栓的扭矩额定值为每英尺7至10磅。




参数

  • 组件类型
    Centering Ring
  • 系列
    Series 76
  • 法兰类型
    ISO-MF
  • 法兰尺寸
    NW63
  • 材料
    304 Stainless Steel
  • 密封材料
    Viton
  • 内径
    67 mm
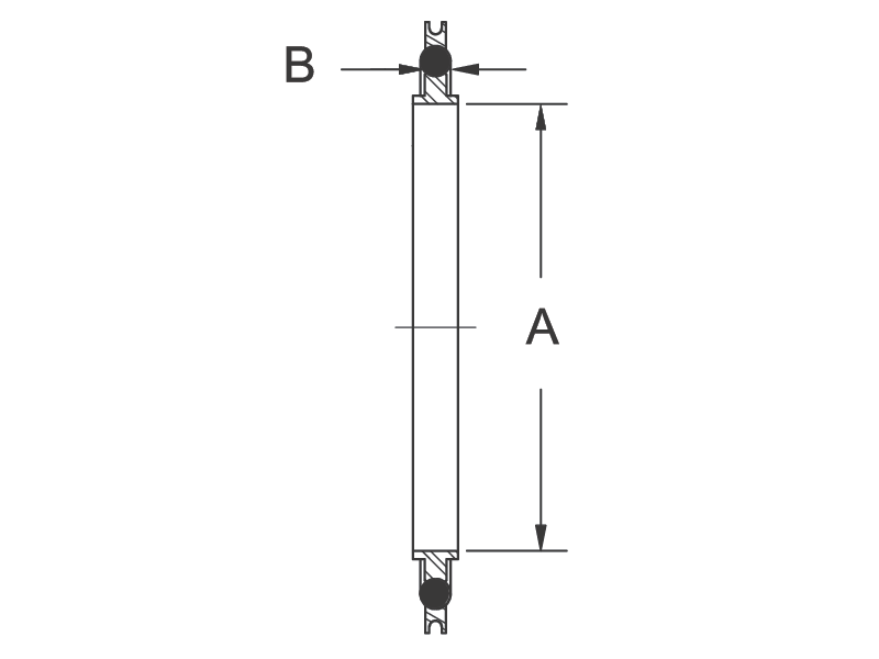
  • A
    67 mm
  • B
    4 mm






















微信/手机: 18938648240   QQ : 1605935956    电话 : 075583317774      Email : 1605935956@qq.com


联系我们
Contact us
联系邮箱 1605935956@qq.com
联系电话
0755-83317774
联系地址

深圳市龙岗区平湖街道凤凰社区双拥街24、26、28号306

联系QQ
1605935956
微信/手机: 18938648240