深圳市朗磊贸易有限公司

产品详情
|

NEWPORT 优铂特 100316835  ISO-KF Flange to Male NPT Pipe Adapters

品牌: NEWPORT 优铂特
型号: 100316835
产品详情

NEWPORT 优铂特 100316835   ISO-KF Flange to Male NPT Pipe Adapters



ISO-KF法兰适配器,NW40法兰到1.0英寸公头NPT,304不锈钢




100316835 ISO-KF法兰适配器用于将NW40 尺寸的ISO-KF真空法兰转换为1英寸外螺纹NPT(国家管道锥度)标准连接,它是由304不锈钢制成的。法兰适配器能够将ISO-KF法兰连接到其他类型的标准真空组件或者法兰。31系列ISO-KF真空组件是为在次大气压下使用而设计的,并且使用国际标准组织(ISO)定义的标准接口尺寸,从而使其可以与其他符合ISO-KF的组件互换。31系列组件可以用作模块化构件,以创造真空管道系统。IS-KF法兰是 "中性"的,带有对称密封圈,因此部件是可以旋转的。通过在两个法兰面之间插入定心环并且用法兰包围夹将其固定,将ISO-KF真空法兰连接在一起。




参数

  • 组件类型
    NPT Pipe Adapter
  • 系列
    Series 31
  • 材料
    304 Stainless Steel
  • 法兰类型
    ISO-KF
  • 法兰尺寸
    NW40
  • NPT 接头尺寸
    1.0 in. Male
  • 长度
    75 mm
  • 内径
    22 mm
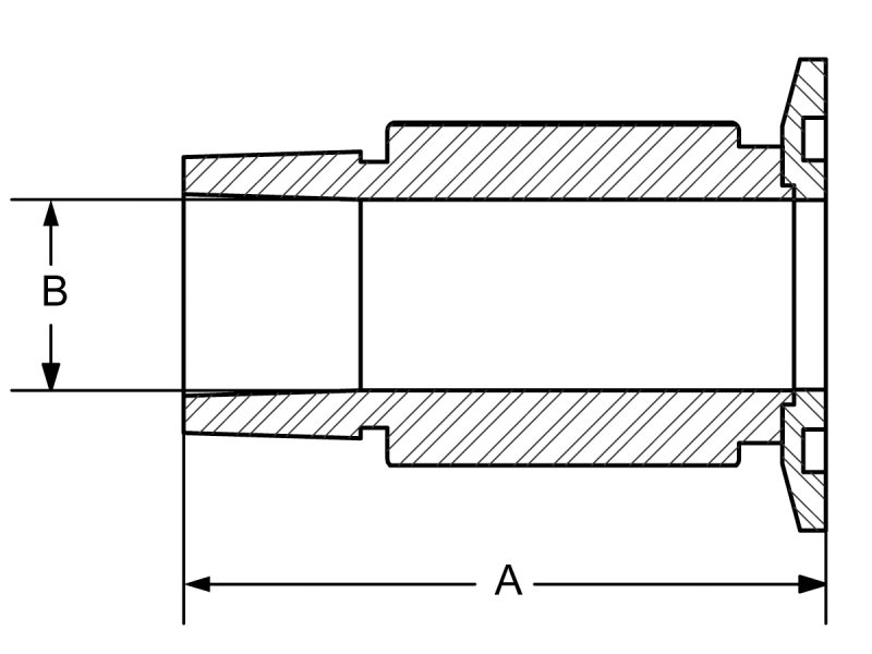
  • A
    75 mm
  • B
    22 mm




















微信/手机: 18938648240   QQ : 1605935956    电话 : 075583317774      Email : 1605935956@qq.com

联系我们
Contact us
联系邮箱 1605935956@qq.com
联系电话
0755-83317774
联系地址

深圳市龙岗区平湖街道凤凰社区双拥街24、26、28号306

联系QQ
1605935956
微信/手机: 18938648240