深圳市朗磊贸易有限公司

产品详情
|

NEWPORT 优铂特 100318906  ISO-KF Vacuum Flange Clamps

品牌: NEWPORT 优铂特
型号: 100318906
产品详情

NEWPORT 优铂特 100318906   ISO-KF Vacuum Flange Clamps



隔板法兰夹具,NW50尺寸ISO-KF法兰,8个螺栓,铝制




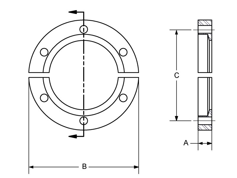
100318906隔板法兰夹是为NW50尺寸的ISO-KF真空法兰而设计的,它是由铝制成的。隔板法兰夹用于将ISO-KF法兰连接到腔室或者基座板上。这个由两部分组成的螺栓固定夹通过真空密封所需的定位环安装在ISO-KF法兰上。隔板法兰夹套件包括两件式法兰夹、螺栓和垫圈。31系列ISO-KF真空组件是为在次大气压下使用而设计的,并且使用国际标准组织(ISO)定义的标准接口尺寸,从而使其可以与其他符合ISO-KF的组件互换。31系列组件可以用作模块化构件,以创造真空管道系统。IS-KF法兰是 "中性"的,带有对称密封圈,因此部件是可以旋转的。通过在两个法兰面之间插入定心环并且用法兰包围夹将其固定,将ISO-KF真空法兰连接在一起。





参数

  • 组件类型
    Flange Clamp
  • 系列
    Series 31
  • 材料
    Aluminum
  • 法兰类型
    ISO-KF
  • 法兰尺寸
    NW50
  • 宽度
    0.40 in. (10 mm)
  • 外径
    3.75 in. (95 mm)
  • 机制
    Bulkhead
  • A
    10 mm
  • B
    95 mm
  • C
    83 mm




















微信/手机: 18938648240   QQ : 1605935956    电话 : 075583317774      Email : 1605935956@qq.com

联系我们
Contact us
联系邮箱 1605935956@qq.com
联系电话
0755-83317774
联系地址

深圳市龙岗区平湖街道凤凰社区双拥街24、26、28号306

联系QQ
1605935956
微信/手机: 18938648240